Характеристики
| Характеристики |
|
||||||||||||||||||
Описание
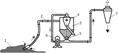
Предназначен для транспортировки зерновых культур и других схожих по физическим свойствам сыпучих продуктов. Применение пневмоперегружателя позволяет перемещать продукт на значительные расстояния, производить загрузку и разгрузку автомобильного, железнодорожного транспорта, емкостей хранения продуктов, судов.
1 - транспортируемый продукт; 2 - трубопровод; 3 - приемный циклон, 4 - циклон-очиститель; 5 - шлюзовый затвор; 6 - компрессор; 7 - циклон-осадитель
Дополнительное оборудование:
Труба L=3 м
Труба L=6 м
Шланг L=1 м
Отвод с углом 90 град.
Заборное устройство
Циклон
Фланец
Кольцо
